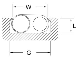
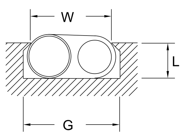
| Gasket Dimensions | “D” Multi-Seal Part Numbers | Recommended Mounting Dimensions | ||||||
| Width of Gasket (E) | Spiral Diameter (D) | Thickness of Wall (t) | Standard Force* | Moderate Force | Low Force | Depth (L) +.002”-.000” | Width (G) +.007”-.005” | Width (W) +.000”-.002” |
| .141” | .063” ± .003” | N/A** | DSS-0421 | DMS-0421 NC | -- | .046” | .187” | .138” |
| .187” | .094” ± .004” | N/A** | DSS-0632 | DMS-0632 NC | -- | .070” | .250” | .180” |
| .250” | .125” ± .004” | .031” | DSS-0842 | DMS-0842 NC | -- | .094” | .313” | .240” |
| .375” | .187” ± .006” | .047” | DSS-1263 | DMS-1263 NC | -- | .140” | .500” | .367” |
| .500” | .250” ± .007” | .047” | DSS-1684 | DMS-1684 NC | -- | .188” | .625” | .485” |
Moderate force gaskets come without a cord unless specified otherwise.
* All standard force gaskets come without a cord.
** These sizes come with a solid elastomer.








