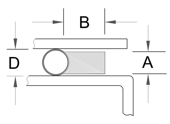
| Gasket Dimensions | Spira-Strip Part Numbers | |||||
| Elastomer Thickness (A) | Elastomer Width (B) | Spiral Diameter (D) | Total Gasket Width | Standard Force* | Moderate Force | Low Force |
| .063” | .250” | .078” | .328” | SS-0522 /S | MS-0522 /S | LS-0522 /S |
| .375” | .453” | SS-0523 /S | MS-0523 /S | LS-0523 /S | ||
| .500” | .578” | SS-0524 /S | MS-0524 /S | LS-0524 /S | ||
| .625” | .703” | SS-0525 /S | MS-0525 /S | LS-0525 /S | ||
| .094” | .250” | .109” | .359” | SS-0732 /S | MS-0732 /S | LS-0732 /S |
| .375” | .484” | SS-0733 /S | MS-0733 /S | LS-0733 /S | ||
| .500” | .609” | SS-0734 /S | MS-0734 /S | LS-0734 /S | ||
| .625” | .734” | SS-0735 /S | MS-0735 /S | LS-0735 /S | ||
| .125” | .250” | .156” | .406” | SS-1042 /S | MS-1042 /S | LS-1042 /S |
| .375” | .531” | SS-1043 /S | MS-1043 /S | LS-1043 /S | ||
| .500” | .656” | SS-1044 /S | MS-1044 /S | LS-1044 /S | ||
| .625” | .781” | SS-1045 /S | MS-1045 /S | LS-1045 /S | ||
Moderate and low force gaskets come with a cord unless specified otherwise.
*All standard force gaskets come without a cord.



